永旺防水套管 - 防水套管引導者
咨詢熱線
15165088121
聯系電話:0531-88601769
公司地址:濟南市北園大街山東五金市場(西北門)
給排水系統中管道的套管可分為普通套管和山東防水套管。普通套管比使用的管道粗2~4 cm,固定在墻體或板內,管道從套管中穿過;防水套管就是在套管與管道之間用材料封堵起到密封效果。防水套管一般在做水池的時候使用,它是管道通向水池的通道。普通套管很難密封,從而在套管與管道之間會有漏水、套管與墻壁之間也易漏水,而防水套管雖然解決了套管與墻壁之間的漏水,但還不能解決套管與管道之間的密封。
防水套管廠家為解決上述問題,在現有的防水套管基礎上,成功研制出一種新型的柔性防水套管,可以滿足管路振動時的密封效果,同時也加強管道穿墻的防水效果。
1 基本構造
防水套管廠家針對已有技術密封性不足的問題,給出一種既能解決套管與墻壁之間的漏水,又能解決套管與管道之間密封問題且結構簡單、成本低的柔性防水套管,其本質是一種給排水系統用于墻體處的五金管件。
1.1 新型柔性防水套管的基本構造
該新型柔性防水套管組成,見圖1。

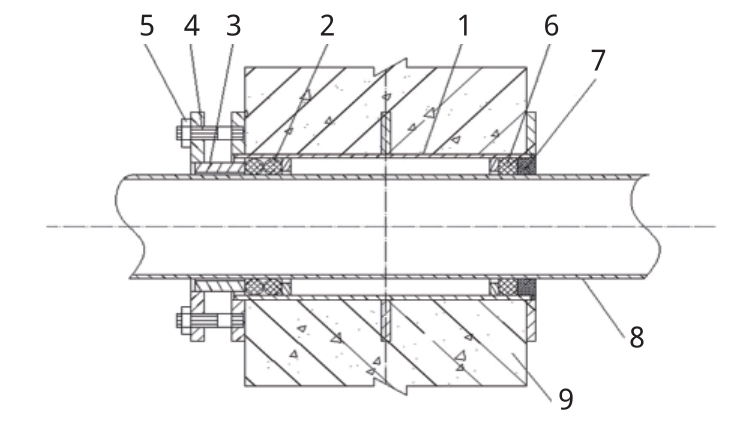
圖1 柔性防水套管構造
1鋼套管組合2密封膠圈3活動壓蓋4螺桿5螺母6柔性密封材料7密封膏8穿墻管道9墻體
在穿墻管道外部套有一個鋼套管組合。該鋼套管組合是在一個鋼套管外徑上的一端頭部焊接一帶螺桿的法蘭并于中部焊接至少一個翼環,在其另一端頭部焊接一個固定法蘭,在鋼套管的內表面上設置2個擋圈,即I擋圈和II擋圈,其中I擋圈靠近內墻面,II擋圈靠近外墻面,具體構造見圖2。鋼套管內部的兩個擋圈用于套在穿墻管道上,而鋼套管通過中部焊接的翼環澆筑并固定在墻體結構中。其中帶螺桿的法蘭與墻體的內墻面貼合,固定法蘭與墻體的外墻面貼合。穿墻管道與鋼套管之間在I擋圈左側設有密封膠圈,在Ⅱ擋圈右側用柔性密封材料進行充填并用密封膏將穿墻管道和固定法蘭之間的間隙進行密封。帶螺桿的法蘭通過螺桿和螺母連接一個套在穿墻管道上的活動壓蓋,見圖3。

圖2 鋼套管組合構造
10帶螺桿的法蘭11擋圈12翼環13鋼套管14固定法蘭

圖3 活動壓蓋構造
15活動法蘭16頂壓套管
活動壓蓋由活動法蘭焊接頂壓套管構成。頂壓套管的右端處在鋼套管組合與穿墻管道之間且端頭與密封膠圈貼合連接。通過使用該種活動壓蓋,可以使其在穿墻管道上具有一個直線運動軌跡,通過螺母的旋緊,可以改變對密封膠圈的壓緊度,使密封性更好。
2 與現有技術的區別
該新型山東柔性防水套管與現有技術的不同之處在于,其鋼套管通過外徑上焊接的翼環固定在墻體上。鋼套管于內墻面處焊接了一個帶螺桿的法蘭,外墻面處焊接有固定法蘭,管內腔設置兩個擋圈。帶螺桿的法蘭連接在有套接在穿墻管道上的活動壓蓋上。穿墻管道與鋼套管之間于兩個擋圈外側分別設有密封膠圈、柔性密封材料和密封膏。柔性密封材料可以有效地控制穿墻管道在震動時的密封性能。活動壓蓋通過螺桿、螺母的調整可壓緊密封膠圈,使之密封不漏水。本新型柔性防水套管用于穿墻管道穿越墻體處,可有效保證穿墻管道在管路振動時的密封效果,同時也加強了管道穿墻的防水效果。
3 施工方法
首先將鋼套管組合按相應標高尺寸一次性澆筑于混凝土墻體內,假定混凝土墻體的右側為迎水面。其次把橡膠密封圈套在穿墻管道上并將穿墻管道從左側穿過鋼套管,然后把活動壓蓋插入鋼套管組合,擰上螺桿,擰緊螺母,使頂壓套管壓緊橡膠密封圈,橡膠密封圈經受壓迫產生變形,與鋼套管內壁及穿墻管道外壁充分接觸,阻止水的滲透。另一側用柔性密封材料以及密封膏填堵,保證套管與管道之間的密封性。
4 施工效果
使用了山東柔性防水套管后,在柔性密封材料和橡膠密封圈的作用下,保證了外墻進出戶管道穿墻處的密封性,在有輕微擾動的情況下依然能保證不滲水,減少了外墻漏水隱患,為以后機電專業穿地下室外墻管道施工、穿消防水池墻壁管道施工等均有效地保證了可靠性和平安性。
相關文章:防水套管廠家
防水套管如何通過三重防線實現防水
防水套管如何通過三重防線實現防水...
TIME:2025-10-11